您好!
我是台灣琺瑯的Allen,很高興您對我們的琺瑯牆板有興趣。身為琺瑯牆板的製造商,希望我能與您分享一些有價值的資訊及經驗來幫助您的琺瑯牆板工程能夠更加的成功順利,且將更高品質的琺瑯牆板帶給您的業主。
接下來,我們將有一系列有關琺瑯牆板品質與維護方法的貼文。這是此系列第一篇貼文,在這篇貼文中我想告訴您如何改善琺瑯牆板的平整度。
板片不平整是琺瑯牆板最常發生的問題之一。雖然這不會影響它的耐久性,但是當所有板片在室內或室外安裝好後,不平整的現象看起來就是不美觀。
當不平整的問題發生時,看起來就會像下面的圖片:
反之,當整面牆所有板片都非常平整時,看起來就像下面的照片一樣漂亮:
板片的平整度真的非常的重要,台灣琺瑯已經在這個產業有超過25年的時間了,我們已經介入並幫助過無數個客戶改善他們的工程,因為他們完全沒有概念該如何把板片不平整的問題降到最低。
所以,我希望在琺瑯牆板工程開始之前,能幫助你們避免這類的問題發生。在工程開始前,以下五點是我們認為您需要知道的事:
- 板片折邊
一個案子裡面總是會有各種不同的尺寸的板片,有時候少於十種,有時候會超過一百種。在我們的經驗裡,小片的板片比較少會有不平整的問題產生,相較之下,大片的板片較容易產生不平整的情況。
為了讓板片達到較佳的平整度,如果尺寸大於1,200mmX2,400mm,那麼折邊大一點有助於板片的平整度,通常小尺寸的板片折邊高度30mm即可,但是大於1,200mmX2,400mm的板片,折邊高度則強烈建議在40mm~50mm會比較好。

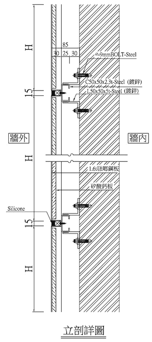
- 螺絲固定或掛鉤固定
以我們的經驗,螺絲安裝方式會比掛鉤安裝方式好。螺絲安裝方式最大的好處就是整體平整度比掛鉤安裝方式佳。
我們能在板片四周圍都放上鎖螺絲的掛耳,但是掛鉤式掛耳只能在垂直兩邊有作用。另外,理想的螺絲掛耳間距為300mm。
下列圖例為鎖螺絲掛耳的斷面參考詳圖:

此外,相較之下,螺絲安裝系統較易於水平調整。如果有任何板片需要卸下補板,您只需要拆掉那片板片的螺絲就能取下,不需要動到周圍其他的板片。然而,掛鉤安裝系統則需先取下上面的板片,才能卸下下面需要更換的板片。
您還使用掛鉤安裝系統嗎?何不試試看螺絲安裝系統呢?!如果試了,我相信您在工地現場作業會更容易的!
- 板型
為了板片的平整度,壓合背襯材料在琺瑯牆板背面後這個程序是必要的。板片的形狀越簡單,壓合作業就能夠更順利,板片平整度也較佳。
所以,板片形狀的簡化對板片外觀平整度較有利。
舉例來說,如果U形板左右兩側過大,則無法壓板。這種設計的板片都會有平整度的問題,如果一定要設計U型板造型,我們建議兩邊的高度能夠小於(等於)300mm(如下圖),如此一來,就能夠縮小兩側變形的機率。
如果您對設計不規則板片有任何問題,想知道是否會影響板片的平整度,歡迎隨時與我們聯絡,我們很樂意與您討論。
- 光澤度及表面
在我們討論這個主題前,請您先看以下的照片:

從以上的照片您可以看到板片上的倒影在低光澤度的板片上較為模糊,在高光澤度的板片上看起來較為清晰。
因此,我建議使用低光澤度的板片,倒影折射較不清晰。如果折射太清晰,即使是極輕微的平整度偏差,也會使安裝好的板子看起來不平整。
經驗告訴我們,如果影像折射越低則整體牆面的平整度效果越好。
然而,當採用光澤度非常低的琺瑯板時,板片的耐酸性會比較差。
您也許想問,那光澤度多少對您的牆板來說是最好的呢?以下是我的建議:
對於安裝於室內的牆板工程而言,您往往不需要擔心板片耐酸鹼的問題,所以,建議使用低光澤度的板片以減少倒影的清晰度,藉此可以讓整體牆面的平整度看起來更為平整。
然而,對於安裝於室外的牆板工程而言,耐酸性是非常重要的。因此,我建議您使用高光澤度的顆粒面板片,以達到最好的耐酸性,同時能減少影像反射問題,板片顯得較為平整。
您也許會想知道顆粒面看起來是如何?他的優點是什麼?請看以下的照片:

從以上的板片您可以看到顆粒面的倒影是模糊的,光滑面的倒影是清晰的。
因此,就像低光澤度的板片一樣,顆粒面的板片影像折射較不清晰。如此一來,室外牆板整體外觀看起來就會比較平整,除此之外,用顆粒面我們還能維持高光澤度以確保琺瑯牆板的耐酸性。
琺瑯牆板的光澤度及表面型式在工程進行前應由建築師或業主就琺瑯板樣品加以確認以做為日後出貨及驗收依據。
- 儲放方式
我們都知道如何儲放及保護琺瑯牆板,但是,有時候我到工地時,看到許多工人有很多不適當的儲放琺瑯牆板的方式。這個也許不是他們的問題,因為他們在工作之前也許沒有受過如何保護琺瑯牆板的課程或訓練。
因此,我希望在這裡我可以提供您一些資訊,讓所有現場的員工都能夠完善的訓練且在處理琺瑯牆板的時候更加注意。如此一來,能大量減少現場不必要的損失。如果您覺得以下的資訊能幫到他們,那麼就請將這個資訊提供給他們。
在工地如何處理琺瑯板?
適當的儲放方式能夠避免琺瑯牆板的變形。當堆疊或是平放時,墊材的支撐不平均會使琺瑯牆板的平整度變差。
以下的照片,是幾張由於疊放不適當造成板片變形的例子。

如果您看完以上的教材後,還想了解更多資訊的話,我很樂意花更多時間與您詳談。請點擊下列連結線上申請免費諮詢服務:
如果我們認為您很合適,則會主動與您聯絡,非常期盼收到您的訊息。
台灣琺瑯 Allen 敬上
點擊以下連結以獲取此系列更多貼文:






